LM358內部包括有兩個獨立的、高增益、內部頻率補償的雙運算放大器,適合于電源電壓范圍很寬的單電源使用,也適用于雙電源工作模式,在推薦的工作條件下,電源電流與 電源電壓無關。它的使用范圍包括傳感放大器、直流增益模組,音頻放大器、工業控制、DC增益部件和其他所有可用單電源供電的使用運算放大器的場合。 LM358的封裝形式有塑封8引線雙列直插式和貼片式。

圖1 外形圖
1.LM358特性
(1)內部頻率補償
(2)直流電壓增益高(約100dB)
(3)單位增益頻帶寬(約1MHz)
(4)電源電壓范圍寬:單電源(3—30V);雙電源(±1.5一±15V)
(5)低功耗電流,適合于電池供電
(6)低輸入偏流
(7)低輸入失調電壓和失調電流
(8)共模輸入電壓范圍寬,包括接地
(9)差模輸入電壓范圍寬,等于電源電壓范圍
(10)輸出電壓擺幅大(0至Vcc-1.5V)
2.LM358參數
(1)輸入偏置電流45 nA
(2)輸入失調電流50 nA
(3)輸入失調電壓2.9mV
(4)輸入共模電壓最大值VCC~1.5 V
(5)共模抑制比80d
(6)電源抑制比100dB
3.工作原理
8腳主供電輸入,2腳電壓與3腳電壓比較,6腳電壓與5腳電壓比較,分別對應兩個獨立的輸出:1OUT與2OUT
當1IN+大于1IN- 2IN+大于2IN-時,1OUT 2OUT輸出高電平;
當1IN+小于1IN- 2IN+小于2IN-時,1OUT 2OUT輸出低電平;
LM358輸出端不需要上拉電阻,輸出電壓范圍為:0V~VCC-1.5V,這點與LM393是不同的。

圖2 內部電路原理圖
4.引腳圖及功能
LM358的封裝形式有塑封8引線雙列直插式和貼片式。引腳圖如下:

圖3 引腳排列圖

圖4 圓形金屬殼封裝管腳圖
LM358引腳功能:
1腳是輸出端
2腳是反相輸入端
3腳是同相輸入端
4腳是負電源(雙電源工作時)或地(單電源工作時)
5腳是同相輸入端
6腳是反相輸入端
7腳是輸出端
8腳是正電源
1、2、3腳是一個運放通道,5、6、7腳為另一運放通道。
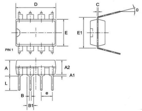
5.封裝尺寸及外形圖

圖5 封裝外形圖


圖6 封裝外形圖

6.注意事項
LM358是雙運放組成的運算放大器,可以單電源供電,也可以雙電源供電。常用來做電壓信號采集的前端電壓跟隨器,同時起到增加輸入阻抗的作用,避免影響被測量的電壓值。
LM358當工作在單電源5V供電時,當IN+從0~5V輸入,其輸出電壓OUT只能從0~3.7V,而不是0~5V,也就是說,當IN+輸入0~3.7V時,電壓可以跟隨到OUT,當輸入大于3.7V時,輸出將還是3.7V,大不了了。
由于LM358是射極輸出,輸出范圍最多為VEE+0.7~VCC-0.7,和TL082一樣,都沒有rail to rail的性能,輸出最高為3.xV。
解決辦法:
(1)用的rail to rail的運放,換IC,不用LM358了,用一個滿幅電壓運放,業內稱為rail to rail的運放,例如工業中常用的TLC2262,引腳功能和LM358一樣,也就是說兩個可以互換,但是,當IN+為0~5V時,TLC2262的OUT可以從0~5V,當然,TLC2262的價格要比LM358貴。此芯片已被廣泛應用于各種工業場合,在成本不是很敏感的前提下,請君放心使用!
(2)在設計中把滿幅輸出電壓設計為比電源低2V,保證輸出在LM358的工作區間內。
以上就是LM358的特性、參數、工作原理、引腳功能、封裝以及注意事項介紹了。目前能替代LM358的型號有LM258JG,LM258N,LM258P,LM2904J,LM2904JG,LM2904N,LM2904P,LM358,LM358AN,LM358AT,LM358J等等。
電話:18923864027(同微信)
QQ:709211280
〈烜芯微/XXW〉專業制造二極管,三極管,MOS管,橋堆等,20年,工廠直銷省20%,上萬家電路電器生產企業選用,專業的工程師幫您穩定好每一批產品,如果您有遇到什么需要幫助解決的,可以直接聯系下方的聯系號碼或加QQ/微信,由我們的銷售經理給您精準的報價以及產品介紹

